Analog Devices / Maxim Integrated MAX32660 Arm® Cortex®-M4 Microcontroller

Analog Devices MAX32660 Arm® Cortex®-M4 Microcontroller is designed for battery-powered devices and wearable wireless sensors. The MAX32660 features ultralow power and combines a flexible and versatile power management unit with the powerful Arm Cortex-M4 floating point unit (FPU). The MAX32660 offers an easy and cost-optimal upgrade path for legacy designs from 8- or 16-bit microcontrollers.

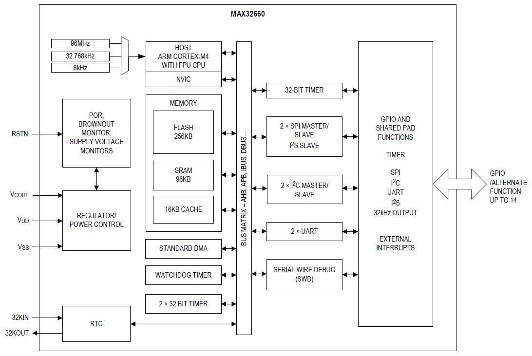
The Analog Devices MAX32660 Arm® Cortex®-M4 Microcontroller integrates up to 256KB of flash memory and 96KB of RAM to accommodate application and sensor code. The Maxim MAX32660 supports SPI, UART, and I2C communication in a tiny 1.6x1.6mm 16-bump WLP or 5x5mm 20-pin TQFN-EP form factor.

Features

  • High-efficiency microcontroller for wearable devices
    • The internal oscillator operates up to 96MHz
    • 256KB Flash memory
    • 96KB SRAM, optionally preserved in the lowest power backup mode
    • 16KB instruction cache
    • Memory Protection Unit (MPU)
    • Low 1.1V VCORE supply voltage
    • 3.6V GPIO operating range
    • Internal LDO provides operation from a single supply
    • -40ºC to +105°C wide operating temperature 
  • Power management maximizes uptime for battery applications
    • 85μA/MHz active executing from Flash
    • 2μA full memory retention power in backup mode at VDD = 1.8V
    • 570nA ultralow power RTC at VDD = 1.8V
    • Internal 8kHz ring oscillator
  • An optimal peripheral mix provides platform scalability
    • Up to 14 general-purpose I/O pins
    • Up to two SPI master/slave
    • I2S master/slave
    • Up to two UARTs
    • Up to two I2C master/slave
    • Four-channel standard DMA controller
    • Three 32-bit timers
    • Watchdog timer
    • CMOS-level 32.768kHz RTC output

Applications

  • Sports watches
  • Fitness monitors
  • Wearable medical patches
  • Portable medical devices
  • Industrial sensors
  • IoT

Videos

Block Diagram

Block Diagram - Analog Devices / Maxim Integrated MAX32660 Arm® Cortex®-M4 Microcontroller
Publicado: 2018-03-26 | Actualizado: 2023-12-22