Diodes Incorporated ZXBM5210 Reversible DC Motor Drive w Speed Control

Diodes Inc. ZXBM5210 is a single-chip solution for driving single-coil reversible direct current (DC) fans and motors. The integrated full-bridge driver output stage is designed to minimize audible switching noise and electromagnetic interference (EMI) providing a low noise solution. For system flexibility, the device has four modes of operation: Forward, Reverse, Brake and Standby selected via FWD and REV pins. The Forward and Reverse modes provide the motor rotation direction control, the Brake mode allows quick stop and the Standby mode helps system efficiency by powering down most of the internal circuits to consume less than 32uA typical. 

The motor speed can be adjusted by changing the duty ratio of the PWM signal on the FWD or REV pins in the PWM mode or alternatively by adjusting DC voltage input signal to the VREF pin in the VREF speed control mode. To help protect the IC and the motor coil the ZXBM5210 includes under-voltage, over-voltage, over-current, and over-temperature protections. Once the safe operating range has been exceeded, the device shuts down the output drive to help prevent overstress on the IC or the coil. The device's internal current protection threshold is 1.5A typical. The ZXBM5210 is available in the standard SO8 and thermally enhanced SO8-EP packages.

Features

  • Supports single-coil reversible DC motor applications
  • Operating voltage: 3V to 18V
  • Four modes of operations: Forward, Reverse, Brake and Standby
  • Low quiescent current of 0.85mA typical in normal operation and 32µA in standby mode
  • Internal over current protection
  • Under-voltage lockout and over-voltage protection
  • Over-temperature protection
  • -40°C to +85°C / 105°C operating temperature
  • 6kV ESD withstand capability
  • Standard SO-8 and thermally enhanced SO-8EP

Applications

  • 5V / 9V / 12V / 15V DC reversible motors and actuators
  • Home appliances
  • Handheld power tools
  • Valve open and close
  • Remote control motorized toys
  • Medium Voltage/ Low Power DC Motors

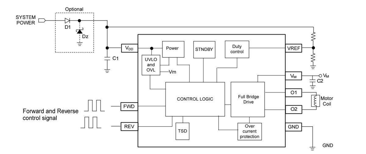
Applications Circuit

Diodes Incorporated ZXBM5210 Reversible DC Motor Drive w Speed Control
Publicado: 2014-06-02 | Actualizado: 2022-03-11