The MaxLinear USB UARTs “Wide Mode” feature has built-in error checking, enabling software to check error and status bits concurrently with data. For applications where the USB interface may be disconnected and reconnected while a COM port is still open, the UARTs provide the XRUSB1 Windows driver, eliminating the need to close the COM port in the host application. The USB devices work with the standard software drivers in Windows, Linux, Android, and Mac OS X, making development simple.
Features
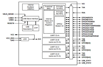
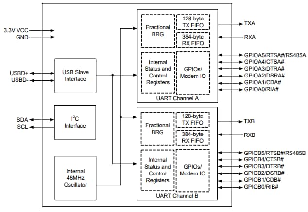
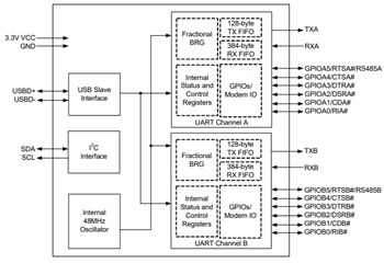
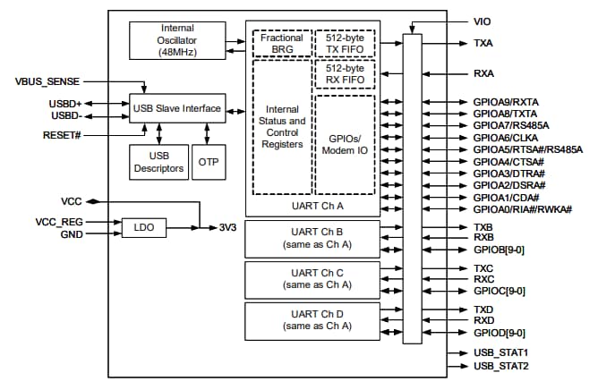
- USB 2.0 Data bus interface
- 1, 2, or 4 Channels
- 12Mbps Max data rate at 3.3V
- 128Bytes or 512Bytes Tx
- 384Bytes or 512Bytes Rx
- Virtual COM port WHQL certified drivers
- Windows XP, Vista, Win7 and Win8
- Windows CE 4.2, 5.0, 6.0, 7.0
- Linux
- Mac
Applications
- Portable appliances
- External converters (dongles)
- Battery-operated devices
- Cellular data devices
- Factory automation and process controls
- Industrial applications
Publicado: 2021-06-10
| Actualizado: 2022-03-11

