Microchip Technology AT21CS11 1Kb Serial EEPROM
Microchip Technology AT21CS11 1Kb Serial EEPROM is a 2-pin memory (SI/O signal and Ground) that harvests energy from the signal pin to power an integrated circuit for use in consumer and industrial applications. The AT21CS11 utilizes the Single-Wire bus and only two pins are needed to access the device: SI/O and GND. The SI/O signal is a combination of data and power lines, providing power to the device with a parasitic power scheme.Microchip Technology AT21CS11 1Kb Serial EEPROM is available in 8-pin SOIC (150 mil), 3-pin SOT23, 2-pad XSFN, and 4-ball Thin CSP packages.
Features
- 128x8 (1Kbit)
- Low power consumption:
- Read current 0.08mA (Typical), 0.3mA (Max)
- Write current 0.2mA (Typical), 0.5mA (Max)
- Standby current 0.7uA (Typical), 2.5uA (Max)
- Software write protection:
- Four independent 256-bit zones
- High speed (125kbps) mode
- Available in 8-pin SOIC (150 mil), 3-pin SOT23, 2-pad XSFN, and 4-ball Thin CSP packages
- Factory programming available
- Self-timed erase and write cycles (5ms max.)
- Single-wire compatible:
- I2C protocol structure
- Communication through a single I/O pin
- More than 1 million erase/write cycles
- Data retention > 100 years
- ESD protection > 8000V (HBM)
Videos
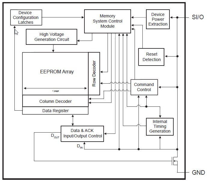
Block Diagram
Publicado: 2017-11-09
| Actualizado: 2022-04-05
