Semtech GS3241 3G-SDI Reclocking Adaptive Cable Equalizers

Semtech GS3241 3G-SDI Reclocking Adaptive Cable Equalizers offer low-power, multi-rate re-timing that supports rates up to 3G -SDI. The GS3241 is intended to equalize and restore signals received over a 190m coaxial cable at 3G, compensate for DC content of SMPTE pathological signals, and re-time the incoming data. With an integrated eye monitor, the Semtech GS3241 offers a non-disruptive mission mode analysis of the post-equalized input signal. The 256x128 resolution scan matrix permits accurate signal analysis, resulting in accelerated prototyping and field analysis.

The GS3241 Cable Equalizers feature built-in macros, which customize cross-section analysis and horizontal/vertical eye-opening measurements at a fast pace. Two independently controlled trace drivers provide highly configurable pre-emphasis and swing controls to compensate for long trace and connector losses. The GS3241 is pin-compatible with the GS12141 and GS12241 single input, as well as the GS12142 dual input 12G UHD-SDI Multi-rate Re-timing Cable Equalizers.

Features

  • Cable Equalizer
    • Automatic power down on loss of signal
    • Programmable carrier detect with squelch threshold adjustment
    • Programmable launch swing compensation for non-compliant source
    • Manual and automatic cable equalizer bypass
  • Trace Driver
    • Integrated 100Ω, differential output termination
    • Extends output DC-coupling support with 1.2V to 2.5V output supply range
    • Trace driver data output pre-emphasis to compensate for up to 60” FR4 at 2.97Gb/s
    • Manual or automatic re-timer bypass
    • Manual or automatic mute or disable on LOS
  • CDR
    • Manual or automatic rate modes
    • Wide Loop bandwidth control
    • Re-timing at the following data rates: 125Mb/s, 270Mb/s, 1.485Gb/s, and 2.97Gb/s-this includes the f/1.001 rates
  • 75Ω cable input interface with on-chip termination
  • SMPTE ST 424, ST 292-1 and ST 259 compliant input/output
  • Multi-standard operation from 1Mb/s to 2.97Gb/s
  • In addition to standard SMPTE rates, the device also supports re-timing of DVB-ASI at 270Mb/s, and MADI at 125Mb/s
  • 3D Input Signal Eye Monitor
  • PRBS generator and checker
  • Automatic cable equalization-typical equalized cable lengths of Belden 1694A cable:
    • 190m at 2.97Gb/s
    • 260m at 1.485Gb/s
    • 450m at 270Mb/s and 125Mb/s

Applications

  • SMPTE ST 424 interface
  • SMPTE ST 292 interface
  • SMPTE ST 259 interface
  • Cameras
  • Switchers
  • Distribution amplifiers
  • Routers

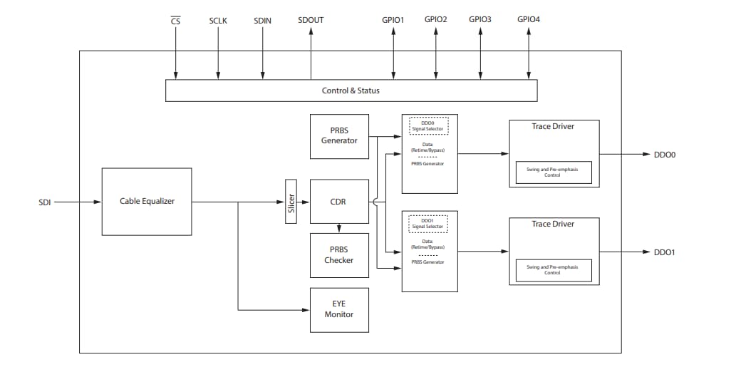
Functional Block Diagram

Block Diagram - Semtech GS3241 3G-SDI Reclocking Adaptive Cable Equalizers
Publicado: 2020-07-01 | Actualizado: 2024-12-05