STMicroelectronics LSM9DS1 iNEMO Inertial Module
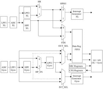
STMicroelectronics LSM9DS1 iNEMO Inertial Module is a system-in-package featuring a 3D digital linear acceleration sensor, a 3D digital angular rate sensor, and a 3D digital magnetic sensor. The LSM9DS1 has a linear acceleration full scale of ±2g/±4g/±8g, a magnetic field full scale of ±4/±8/±12/±16 gauss and an angular rate of ±245/±500/±2000dps. The LSM9DS1 includes an I2C serial bus interface supporting standard and fast mode (100kHz and 400kHz) and an SPI serial standard interface. Magnetic, accelerometer and gyroscope sensing can be enabled or set in power-down mode separately for smart power management.Features
- 3 acceleration channels, 3 angular rate channels, 3 magnetic field channels
- ±2/±4/±8g linear acceleration full scale
- ±4/±8/±12/±16 gauss magnetic full scale
- ±245/±500/±2000dps angular rate full scale
- 16-bit data output
- SPI / I2C serial interfaces
- Programmable interrupt generators
- Analog supply voltage 1.9V to 3.6V
- "Always-on" eco power mode down to 1.9mA
- Embedded temperature sensor
- Embedded FIFO
- Position and motion detection functions
- Click/double-click recognition
- Intelligent power saving for handheld devices
Applications
- Indoor navigation
- Smart user interfaces
- Advanced gesture recognition
- Gaming and virtual reality input devices
- Display/map orientation and browsing
The STMicroelectronics LSM9DS1 iNEMO Inertial Module is available in a plastic land grid array package (LGA) and it is guaranteed to operate over an extended temperature range from -40°C to +85°C.
Publicado: 2014-09-12
| Actualizado: 2022-03-11
