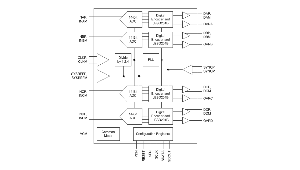
Texas Instruments ADC34J4x 14-Bit Analog-to-Digital Converters
Texas Instruments ADC34J4x 14-Bit Analog-to-Digital Converter (ADC) is a high-linearity, ultra-low power, quad-channel, 14-bit, 50MSPS to 160MSPS, analog-to-digital converter (ADC). These devices are designed specifically to support demanding, high input frequency signals with large dynamic range requirements. A clock input divider allows more flexibility for system clock architecture design while the SYSREF input enables complete system synchronization.The Texas Instruments ADC34J4x family supports serial current-mode logic (CML) and JESD204B interfaces in order to reduce the number of interface lines, thus allowing high system integration density. The JESD204B interface is a serial interface, where the data of each ADC is serialized and output over only one differential pair. An internal phase-locked loop (PLL) multiplies the incoming ADC sampling clock by 20 to derive the bit clock that is used to serialize the 14-bit data from each channel. The ADC34J4x devices support subclass 1 with interface speeds up to 3.2Gbps.
Features
- Quad channel
- 14-Bit resolution
- Single 1.8V supply
- Flexible input clock buffer with divide-by-1, -2, -4
- SNR = 72dBFS, SFDR = 86dBc at fIN = 70MHz
- Ultra-low power consumption
- 203mW/Ch at 160MSPS
- 105dB channel isolation
- Internal dither
- JESD204B serial interface
- Supports subclass 0, 1, 2
- Supports one lane per ADC up to 160MSPS
- Support for multi-chip synchronization
- Pin-to-pin compatible with 12-bit version
- VQFN-48 (7mm × 7mm) package
Applications
- Multi-carrier, multi-mode cellular base stations
- Radar and smart antenna arrays
- Munitions guidance
- Motor control feedback
- Network and vector analyzers
- Communications test equipment
- Nondestructive testing
- Microwave receivers
- Software-Defined Radios (SDRs)
- Quadrature and diversity radio receivers
Videos
Block Diagram
Publicado: 2014-11-04
| Actualizado: 2025-06-23
