Texas Instruments ADS8578S High-Speed 8-Channel ADC

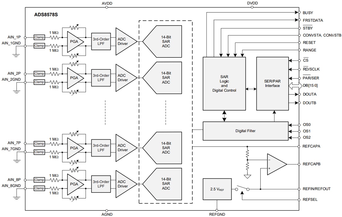
Texas Instruments ADS8578S High-Speed 8-Channel ADC has an integrated data acquisition (DAQ) system based on a 14-bit successive approximation (SAR) analog-to-digital converter (ADC). All input channels are simultaneously sampled to achieve a maximum throughput of 200kSPS per channel. The device features a complete analog front-end for each channel. Each front-end includes a programmable gain amplifier (PGA) with a high input impedance of 1MΩ, an input clamp, a low-pass filter, and an ADC input driver. The ADS8578S also features a low-drift, precision reference with a buffer to drive the ADC. A flexible digital interface supporting serial, parallel, and parallel byte communication enables the device to be used with a variety of host controllers. The high performance and accuracy, along with zero-latency conversions offered by the ADS8578S also make it a great choice for many industrial automation and control applications.

Features

  • 14-Bit ADC with integrated analog front-end
  • Simultaneous sampling of 8 channels
  • Pin-programmable bipolar inputs of ±10V and ±5V
  • High input impedance of 1MΩ
  • 5V Analog supply of 2.3V to 5V digital supply
  • Overvoltage input clamp with 7kV ESD
  • Low-drift, on-chip reference (2.5V), and buffer
  • Excellent performance
    • 200kSPS Max throughput per channels
    • DNL: ±0.2LSB; INL: ±0.2LSB
    • SNR: 85.8dB; THD: −109dB
  • Overtemperature prformance
    • Max offset drift of 3ppm/°C
    • Gain drift of 6ppm/°C
  • On-chip digital filter for oversampling
  • Flexible parallel, byte, and serial interface
  • Temperature Range of –40°C to +125°C
  • 64-Pin LQFP Package

Applications

  • Monitoring and control for power grids
  • Protection relays
  • Multiphase motor controls
  • Industrial automation and controls
  • Multichannel data acquisition systems

Videos

Functional Block Diagram

Block Diagram - Texas Instruments ADS8578S High-Speed 8-Channel ADC
Publicado: 2017-09-08 | Actualizado: 2022-06-01