Texas Instruments DS280DF810 28Gbps 8-Channel Retimer

Texas Instruments DS280DF810 28Gbps 8-Channel Retimer is used to extend the reach and robustness of long, lossy, crosstalk-impaired high-speed serial links while achieving a bit error rate (BER) of 10-15 or less. Each channel of the DS280DF810 independently locks to serial data rates in a continuous range from 20.2 Gbps to 28.4Gbps or to any supported sub-rate (÷2 and ÷4). This includes key data rates such as 10.1376Gbps, 10.3125Gbps, and 12.5Gbps, which allows the DS280DF810 to support individual lane Forward Error Correction (FEC) pass-through. Integrated physical AC coupling capacitors (TX and RX) eliminate the need for external capacitors on the PCB. The Texas Instruments DS280DF810 has a single power supply and minimal need for external components. These features reduce PCB routing complexity and BOM cost.

Features

  • Octal-channel multi-rate retimer with integrated signal conditioning
  • All channels lock independently from 20.2Gbps to 28.4Gbps (including sub-rates like 10.1376Gbps, 10.3125Gbps, 12.5Gbps, and more)
  • <500 ps typical for 28.4 Gbps data rate ultra-low latency
  • Single power supply, no low-jitter reference clock required, and integrated AC coupling capacitors to reduce board routing complexity and BOM cost
  • Integrated 2×2 cross point
  • Adaptive Continuous Time Linear Equalizer (CTLE)
  • Adaptive Decision Feedback Equalizer (DFE)
  • Low-jitter transmitter with 3-Tap FIR filter
  • Combined equalization supporting 35+dB channel loss at 12.9GHz; 30+dB channel loss at 14GHz
  • 205mVppd to 1225mVppd (typical) adjustable transmit amplitude
  • On-chip Eye Opening Monitor (EOM), PRBS pattern checker/generator
  • Small 8mm × 13mm BGA package with easy flow-through routing
  • Unique pinout allows routing of high-speed signals underneath the package
  • Pin-compatible repeater available
  • -40ºC to 85ºC extended temperature range

Applications

  • Backplane and mid-plane reach extension
  • IEEE802.3bj 100GbE, Infiniband EDR, and OIFCEI-25G-LR/MR/SR/VSR electrical interfaces
  • Jitter cleaning for front-port optical
  • SFP28, QSFP28, CFP2/CFP4, CDFP

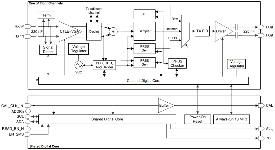
Functional Block Diagram

Block Diagram - Texas Instruments DS280DF810 28Gbps 8-Channel Retimer
Publicado: 2017-01-13 | Actualizado: 2022-03-15