Texas Instruments PCM6xx0-Q1 Audio Analog-to-Digital Converters
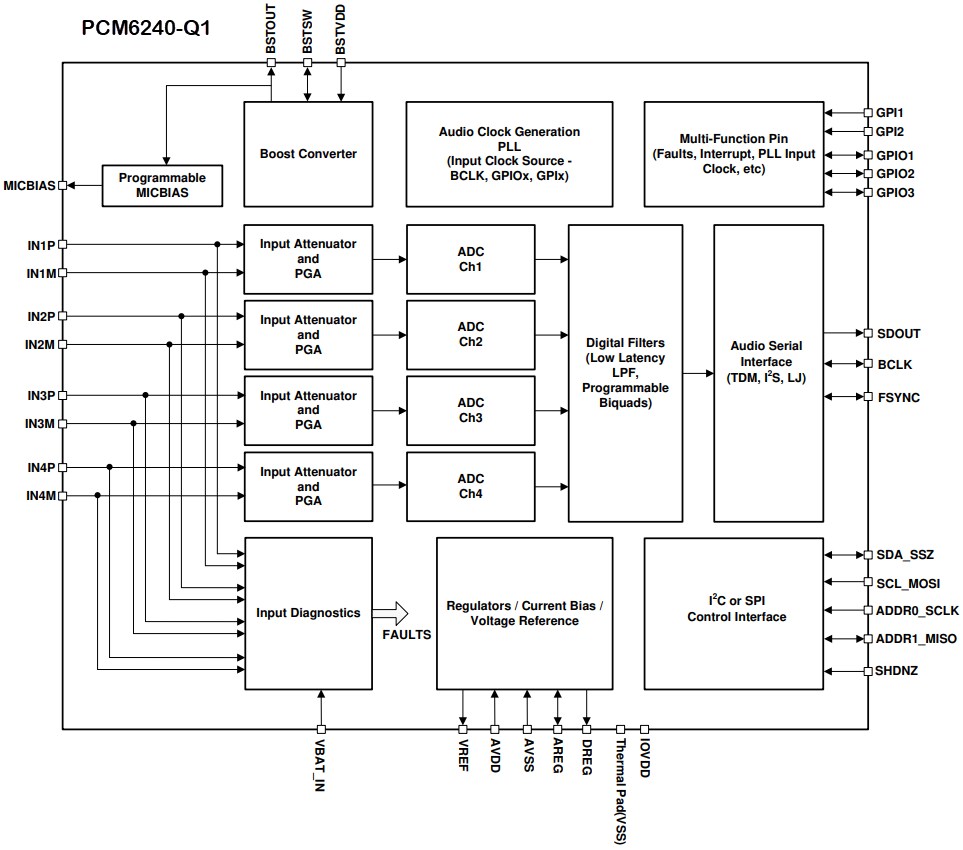
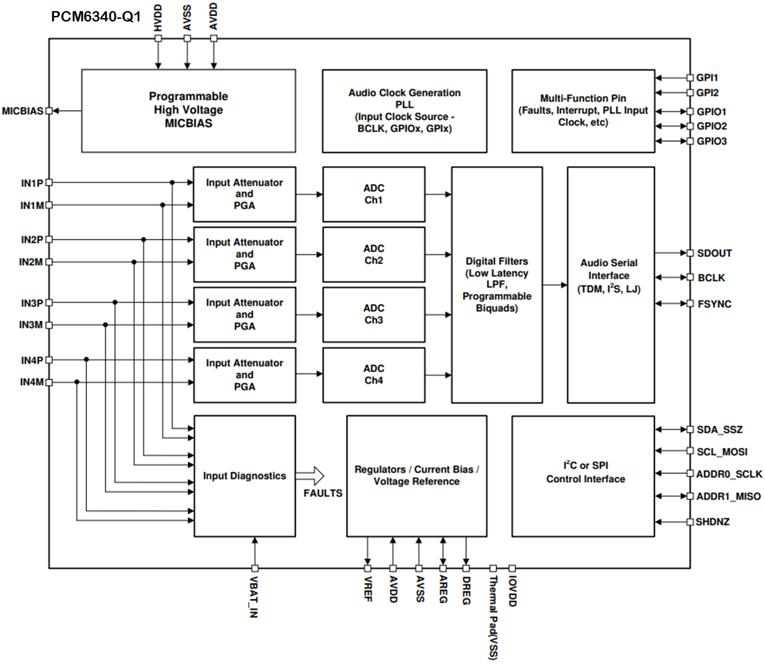
Texas Instruments PCM6xx0-Q1 Audio Analog-to-Digital Converters (ADCs) are 4-channel (PCM6240-Q1, PCM6340-Q1) and 6-channel (PCM6260-Q1, PCM6360-Q1) high-performance audio analog-to-digital converters (ADCs). These devices support analog input signals up to 10VRMS. The PCM6xx0-Q1 supports line and microphone inputs, allowing for single-ended and differential input configurations. These devices offer an integrated high-voltage, programmable microphone bias and input diagnostic circuitry. This circuitry directly connects microphone-based automotive systems with complete fault diagnostic capability for direct-coupled inputs.The PCM62x0-Q1 integrates an efficient boost converter to generate a high-voltage microphone bias using an external, low-voltage, 3.3V supply. The PCM63x0-Q1 uses an external high-voltage supply (HVDD), a readily available supply in the system, to generate the high-voltage, programmable microphone bias. The PCM6xx0-Q1 integrates the programmable channel gain, digital volume control, a low-jitter phase-locked loop (PLL), and a programmable high-pass filter (HPF). These also include bi-quad and low-latency filter modes and allow for sample rates up to 768kHz. The Texas Instruments PCM6xx0-Q1 supports time-division multiplexing (TDM), I2S, or left-justified (LJ) audio formats and can be controlled with the I2C or SPI interface. These integrated high-performance features and a single, 3.3V supply operation make the PCM6xx0-Q1 family an excellent choice for space-constrained automotive systems.
Features
- AEC-Q100 qualified for automotive applications
- –40°C ≤ TA ≤ +125°C temperature grade 1
- ADC performance
- 110dB line differential input dynamic range
- 110dB microphone differential input dynamic range
- –95dB THD+N
- Channel summing mode supports high SNR
- ADC input voltage
- Differential, 10VRMS full-scale inputs
- Single-ended, 5VRMS full-scale inputs
- ADC sample rate (fS) = 8kHz to 768kHz
- Programmable channel settings
- 0dB to 42dB (1dB steps) channel gain
- –100dB to 27dB digital volume control
- Gain calibration with 0.1dB resolution
- Phase calibration with 163ns resolution
- Programmable microphone bias (5V to 9V)
- With an integrated efficient boost converter (PCM62x0-Q1)
- With an external high voltage HVDD supply (PCM63x0-Q1)
- Programmable microphone input fault diagnostics
- Open inputs or shorted inputs
- Short to ground, MICBIAS or VBAT
- Microphone bias over current protection
- Low-latency signal processing filter selection
- Programmable HPF and bi-quad digital filters
- I2C or SPI controls
- Audio serial data interface
- Format: TDM, I2S, or left-justified (LJ)
- 16 bits, 20 bits, 24 bits, or 32 bits word length
- Master or slave interface
- Single-supply, 3.3V operation
- 3.3V or 1.8V I/O supply operation
- < 20mW/channel at 48kHz power consumption
Applications
- Automotive active noise cancellation
- Automotive head units
- Digital cockpit processing units
- Automotive external amplifiers
