Texas Instruments TPS548D26 40A D-CAP+ Step-Down Converter

Texas Instruments TPS548D26 40A D-CAP+ Step-Down Converter is a highly integrated buck converter with a D-CAP+ control topology for fast transient response. The device is easy to use and requires few external components because external compensation is not required. It is well-designed for space-constrained data center applications.

The TPS548D26 device has true differential remote sense, high-performance integrated MOSFETs, and an accurate ±1%, 0.6V reference over the full operating junction temperature range. The device features fast load-transient response, accurate load and line regulation, skip-mode or FCCM operation, and programmable soft-start time. Overcurrent, overvoltage, undervoltage, and overtemperature protections are provided with a selectable hiccup or latch-off response.

The Texas Instruments TPS548D26 device is lead-free and RoHS compliant without exemption.

Features

  • Integrated 4.0mΩ and 1.0mΩ MOSFETs for 40A continuous current operation
  • Supports external 5V bias, improving efficiency and enabling 2.7V minimum input voltage
  • 0.6V to 5.5V output voltage range
  • Precision voltage reference and differential remote sense for high output accuracy
    • ±0.5% VOUT tolerance from 0°C to 85°C TJ
    • ±1% VOUT tolerance from -40°C to 125°C TJ
  • D-CAP+™ control topology with a fast transient response, supporting all ceramic output capacitors
  • Selectable internal loop compensation through SS pin
  • Selectable cycle-by-cycle valley current limit
  • Selectable operation frequency 0.6MHz to 1.2MHz with DCM or FCCM operation
  • Safe start-up into pre-biased outputs
  • Programmable soft-start time from 0.75ms to 6ms
  • Open-drain power-good output (PG)
  • Overcurrent, overvoltage, undervoltage, and overtemperature protections with a selectable hiccup or latch-off response
  • 5mm×6mm, 37-pin WQFN-FCRLF package

Applications

  • Server and cloud-computing POLs
  • Hardware accelerator
  • Data center switches

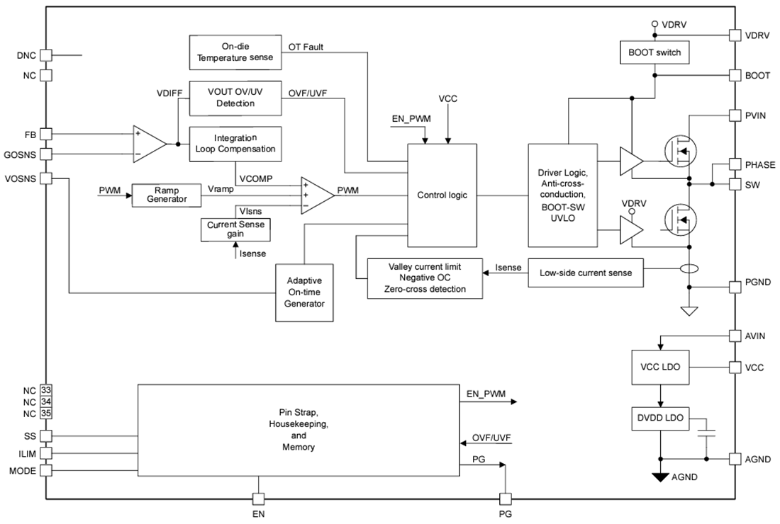
Functional Block Diagram

Block Diagram - Texas Instruments TPS548D26 40A D-CAP+ Step-Down Converter
Publicado: 2024-04-22 | Actualizado: 2024-05-06